Dodaj produkty podając kody
Dodaj plik CSV
Wpisz kody produktów, które chcesz zbiorczo dodać do koszyka (po przecinku, ze spacją lub od nowej linijki).
Powtórzenie wielokrotnie kodu, doda ten towar tyle razy ile razy występuje.
Marka
Symbol
29KNV210211302R2K
Seria
Rodzaj towaru
Grzejniki klimakonwektorowe
EAN
4051487195129
Kod producenta
KNV210211302R2K
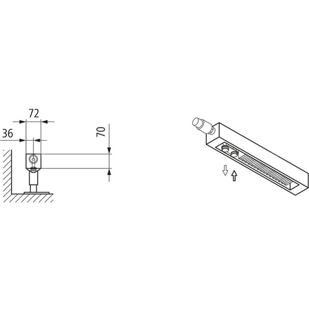
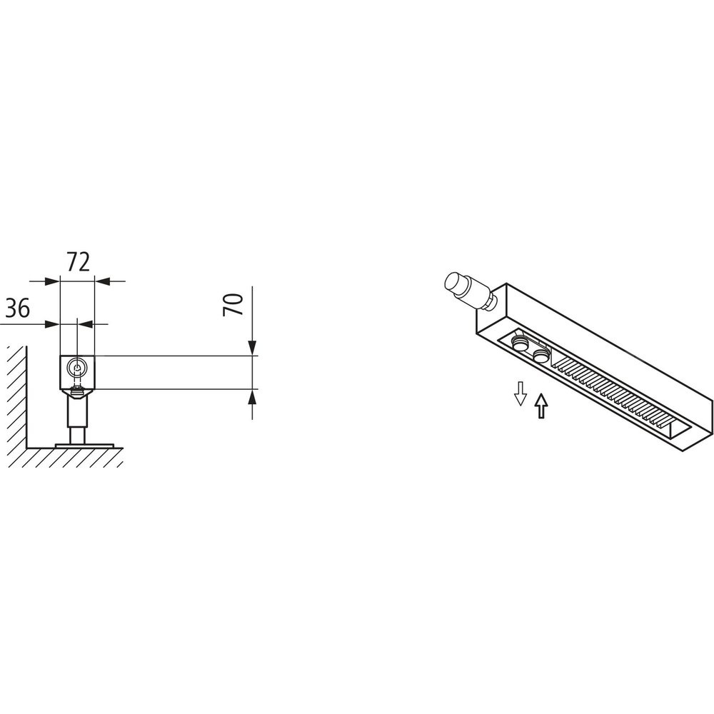
Długość towaru w centymetrach
140
Wysokość towaru w centymetrach
22.5
Szerokość towaru w centymetrach
9.7
Strona www producenta
www.kermi.pl
Zapytaj o produkt
Napisz swoją opinię











