Dodaj produkty podając kody
Dodaj plik CSV
Wpisz kody produktów, które chcesz zbiorczo dodać do koszyka (po przecinku, ze spacją lub od nowej linijki).
Powtórzenie wielokrotnie kodu, doda ten towar tyle razy ile razy występuje.
Marka
Symbol
29KNV220281002R1K
Seria
Rodzaj towaru
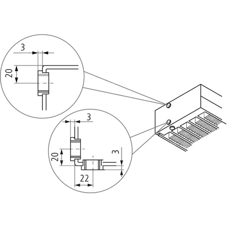
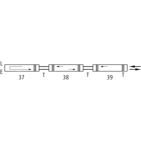
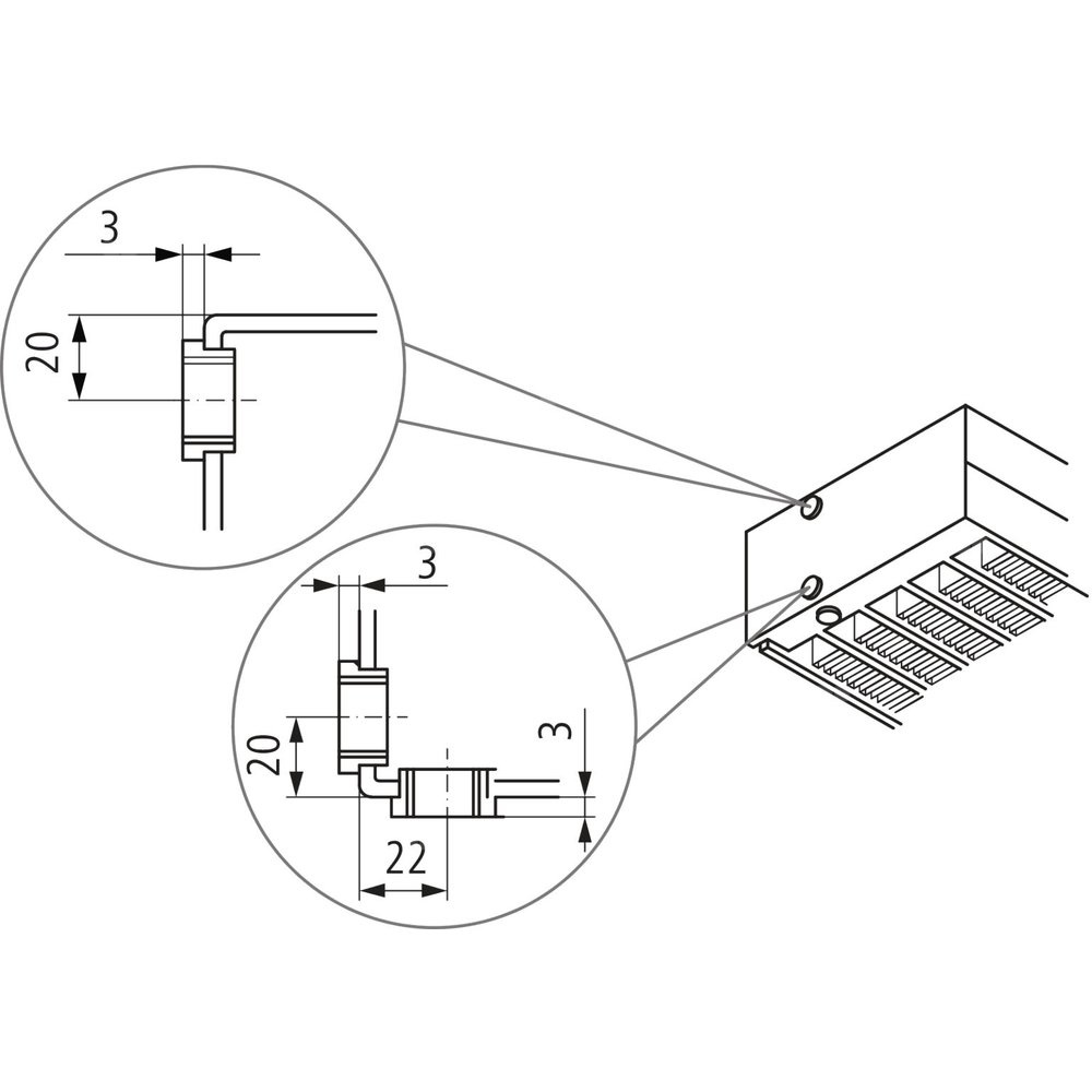
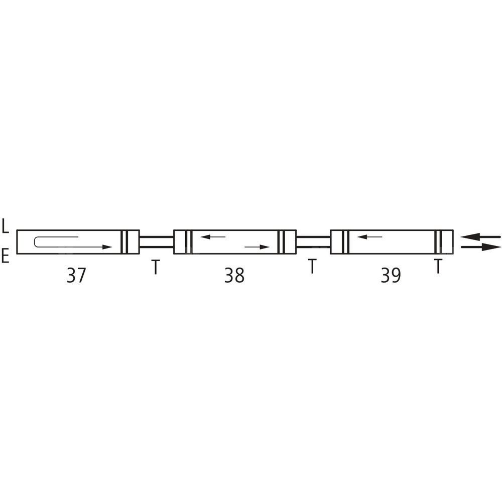
Grzejniki klimakonwektorowe
EAN
4051487198632
Kod producenta
KNV220281002R1K
Długość towaru w centymetrach
110
Wysokość towaru w centymetrach
29.5
Szerokość towaru w centymetrach
14.7
Strona www producenta
www.kermi.pl
Zapytaj o produkt
Napisz swoją opinię












