Dodaj produkty podając kody
Dodaj plik CSV
Wpisz kody produktów, które chcesz zbiorczo dodać do koszyka (po przecinku, ze spacją lub od nowej linijki).
Powtórzenie wielokrotnie kodu, doda ten towar tyle razy ile razy występuje.
Marka
Symbol
29KNV320141602R1K
Seria
Rodzaj towaru
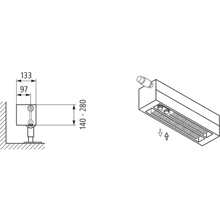
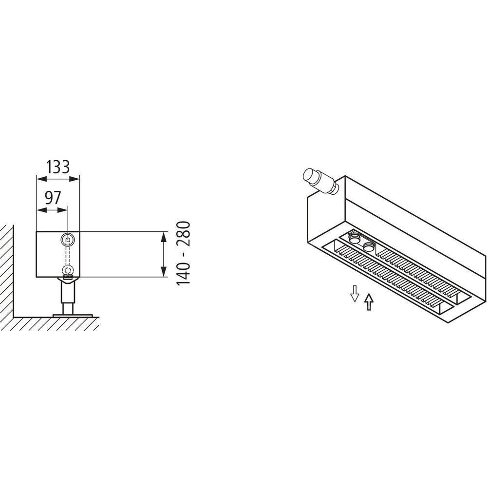
Grzejniki klimakonwektorowe
EAN
4051487200090
Kod producenta
KNV320141602R1K
Długość towaru w centymetrach
170
Wysokość towaru w centymetrach
15.5
Szerokość towaru w centymetrach
15.8
Strona www producenta
www.kermi.pl
Zapytaj o produkt
Napisz swoją opinię












