Dodaj produkty podając kody
Dodaj plik CSV
Wpisz kody produktów, które chcesz zbiorczo dodać do koszyka (po przecinku, ze spacją lub od nowej linijki).
Powtórzenie wielokrotnie kodu, doda ten towar tyle razy ile razy występuje.
Marka
Symbol
29KNV320073602R1K
Seria
Rodzaj towaru
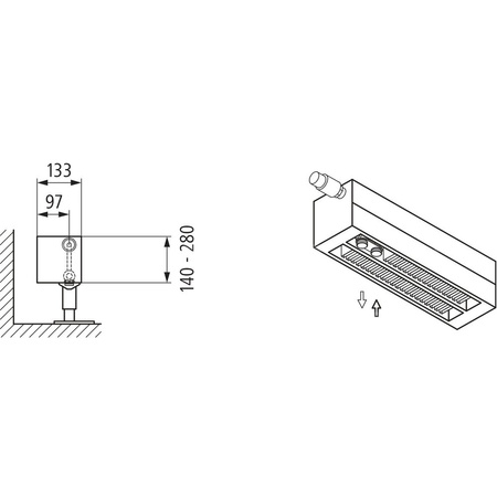
Grzejniki klimakonwektorowe
EAN
4051487199615
Kod producenta
KNV320073602R1K
Długość towaru w centymetrach
370
Wysokość towaru w centymetrach
8.5
Szerokość towaru w centymetrach
15.8
Strona www producenta
www.kermi.pl
Zapytaj o produkt
Napisz swoją opinię











